FACEM
Provenance Studies on Ancient Pottery in the Mediterranean
| | object data | | fabric description | | archaeometry | | |
| sample no |
M 124/29 |
| fabric type |
BNAP-TS-4
|
| supposed site of production |
Bay of Naples |
| sample taken |
October 2012, by Verena Gassner, Institute of Classical Archaeology, Vienna University |
| |
Context Data
|
| site of discovery |
Velia / Elea Lower town |
| registration code of object |
507/98-1 |
| |
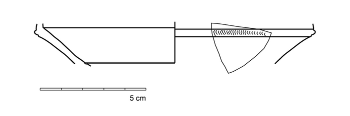
Object
|
| ware |
Terra Sigillata Sigillata Puteolana |
| object form |
Cup |
| object type |
Conspectus 22/23 |
| chronology of object |
Roman-Early Imperial Augustan - third quarter 1st century A.D. |
| fragmentation |
wall |
| surface description |
slipped 2.5YR4/8 |
| drawing |
|
| | object data | | fabric description | | archaeometry | | |
| |
Visual Examination of Fresh Break
|
| visual examination of fresh break |
granular, no visible inclusions |
| colour of fresh break |
7,5YR7/4 |
| texture of fresh break |
irregular |
| hardness |
hard |
| |
Observation Under the Binocular Stereoscope
(all lengths in mm)
|
| porosity |
1%; void form: vughy; void length: 0.01-0.025 |
| inclusions |
10%, length: 0.025-0.175 |
| sorting |
poorly sorted silt |
| |
Inclusions
(all lengths in mm)
|
|
black inclusions |
singular, angular, spherical, black, 0.025-0.025 |
|
carbonate pseudomorphoses |
riddled with, rounded, spherical, white, 0.025-0.075 |
|
mica |
singular, angular, spherical, white, 0.025-0.1 |
|
more inclusions1 |
singular, rounded, spherical, yellowish white, 0.125 |
|
quartz |
singular, angular, subspherical, clear |
|
reddish inclusions |
frequent, angular, spherical, reddish brown;light red;reddish brown, 0.025-0.125 |
| | object data | | fabric description | | archaeometry | | |
Cite this page as: FACEM - http://facem.at/m-124-29